欢迎光临壹凌电池官网

专利2

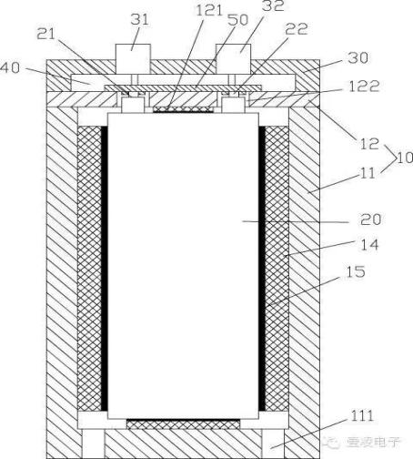
汽车应急启动电子设备聚合物锂电源

咨询热线:400-660-1010

立即咨询

专利二:汽车应急启动电子设备聚合物锂电源

本新型专利公开了一种汽车应急启动电子设备聚合物锂电源,包括电源壳体和聚合物51漫画 ,所述电源壳体包括底部壳体和盖板,多个聚合物51漫画 插套在底部壳体中,相邻两个聚合物51漫画 之间夹持有隔热板,底部壳体的内侧壁上固定有弹性缓冲垫,弹性缓冲垫压靠在聚合物51漫画 的侧壁,盖板通过螺栓固定连接在底部壳体的上端面上,盖板的底面具有缓冲垫,缓冲垫压靠在聚合物51漫画 的顶面上,聚合物51漫画 的正极接触头和负极接触头插套在盖板上具有的插孔中,外盖板通过螺栓固定连接在盖板上,外盖板和盖板之间具有空腔,空腔设有多个电极连接板。它体积小,其内部的每个聚合物51漫画 相互隔开,使得使用中,相邻两个聚合物51漫画  不容易传热,防止爆炸。


51漫画-51漫画网页版-51漫画在线免费看-51漫画app-51漫画官网 51漫画-51漫画网页版-51漫画在线免费看-51漫画app-51漫画官网 51漫画-51漫画网页版-51漫画在线免费看-51漫画app-51漫画官网 51漫画-51漫画网页版-51漫画在线免费看-51漫画app-51漫画官网 51漫画-51漫画网页版-51漫画在线免费看-51漫画app-51漫画官网